差压变送器

差压变送器用途
差压变送器可以将微小差压转换成4~20mA.DC信号,它采用专门设计的放大线路板和特殊的温度补偿工艺,性能稳定可靠。它是用于炉膛燃烧室微压、一次和二次风量及气流损耗检测的理想产品。
通用技术性能和参数
输出信号:4~20MA.DC二线制(模拟)
二线制4~20mA直流信号上叠加数字信号,由用户选择线性或开方输出。(智能)
供电电源:12~45V.DC(详见负载特性图)
负载特性:

量 程 比:10:1或100比1
电源影响:<0.005%输出量程/V
负载影响:电源稳定时,无负载影响。
测量精度:调校量程的±0.1%,±0.2% (标配精度为±0.2%,若选择其他精度请在订货选型时注明。)
阻 尼:通常可在0.1至16秒之间任意可调。
启动时间:<2秒,不需预热
差压变送器工作环境:环境温度 -29~93℃(模拟放大器)
-29~75℃(数字/智能放大器)
-29~65℃(带显示表头)
环境湿度 0~95%
防护特性:防护能力 IP65
防爆类型:隔爆型 Exd II BT4-6
本安型 Exia II CT5
静压影响:零位误差:±0.5%zui大量程限值,对于4MPa在管道压力下通过调零给予校正。
电磁辐射影响:0.05%zui大量程值,接受辐射频率27~500MHz,试验场强3V/m。
指示表(%):液晶数显 精度±0.2%
振动影响:任何方向200Hz振动时,±0.05%/g。
安装位置:膜片未垂直安装,可能产生小于0.24KPa的零点误差,但可通过调零来修正。
重 量:3.9Kg(不包括附件)
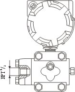
典型差压变送器外形尺寸

安装形式
变送器的安装方式有三类:一是借助于多种结构的安装支架(图A~C ),独立安装于测量对象之外,适用于DP、HP、DR、DP
、GP和AP型;
A.板装弯支架.订货代号B2 B.管装弯支架.订货代号B1 C.管装平支架.订货代号B3
引压连接方式
|
引压形式
|
压力容室螺孔引入
|
椭圆接头螺孔引入
|
一体化安装平衡阀引入
|
|
特征
|
引压管直接与压力容室的螺孔
NPT |
引压管通过椭圆接头上的螺孔
NPT |
引压管通过与其焊接的球形接
头,与平衡阀及压力容室联接 |
|
图例
|
![]() |
![]() |
![]() |
|
适用范围
|
压力变送器
|
压力变送器或差压变送器
|
差压变送器
|
|
选件类型
|
代号
|
名 称
|
示 意 图
|
说 明
|
|
引压附件
|
不注
|
椭圆接头
|
_____
|
引压孔为椭圆接头内螺纹NPT
|
|
C1
|
NPT
螺纹接头 |
![]() |
一端与椭圆接头内螺纹孔相连,另一端与引压管φ13相焊接。
|
|
|
C2
|
M20×1.5
丁字接头 |
![]() |
一端压紧在变送器的压力容室或三阀组上,另一端与引压管φ13相焊接。
|
|
|
C3
|
NPT
螺纹接头 |
![]() |
一端拧入变送器压力容室的内螺纹孔内,另一端与引压管φ13相焊接。
|
|
|
接触介质O形环
|
不注
|
氟橡胶
|
![]() |
在浓酸、强氧化酸、有机溶液中较
稳定,不能用于氨类介质。 |
|
W2
|
丁腈橡胶
|
具有良好的耐油性和耐寒性。
|
||
|
W3
|
乙烯-丙烯
橡胶 |
有良好的耐臭氧性。耐气候性,不宜用于汽油或变压器油中。
|
||
|
W4
|
氯丁橡胶
|
抗臭氧和耐油性好,耐中强酸和氨类物质。
|
||
|
输入/输出
特 性 |
不注
|
正向特性
|
![]() |
输出电流与输入压力成正比。
|
|
V1
|
反向特性
|
1.对DP、HP或DR用户可先通过正向特性调准量程,再采用负迁移将无压力输入时的电流调为20mA,然后把被测压力接到低压侧即可实现。
2.对GP须通过制造厂专门装配和调试来实现。 |
||
|
防 爆
|
I
|
本安型
|
____
|
防爆标志ExiaⅡCT5
|
|
表面处理
|
K1
|
脱脂处理
|
____
|
脱脂后干燥处理
|
|
K2
|
用惰性液灌充元件,并经脱脂处理。
|
产品展示













