
产品概述:
LZBZ玻璃转子流量计的主要测量元件为一根垂直安装的下小上大锥形玻璃管和在内可上下移动的浮子。当流体自下而上经锥形玻璃管时,在浮子上下之间产生压差,浮子在此差压作用下上升。当此上升的力、浮子所受的浮力及粘性升力与浮子的重力相等时,浮子处于平衡位置。
因此,流经玻璃转子流量计的流体流量与浮子上升高度,即与玻璃转子流量计的流通面积之间存在着一定的比例关系,浮子的位置高度可作为流量量度。
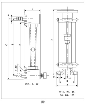
| 外形及安装尺寸 | |
|
|
|
|
原理与结构
|
|
|
|
LZB/LZB-( )F流量计的锥管为光滑内壁管(见图4),通径DN15以上的流量计,浮子通过导杆 上下移动,保持稳定;LZJ/LZJ-( )F流量计锥管 内壁有三条导向凸筋,使浮子保持稳定(见图4)。通径DN10以下的流量计采用软管连接,配有 针形流量调节阀;通径DN15以上流量计采用法兰连接。
|
技术参数:
|
通径DN |
型 号 |
测量范围 |
椎管长度(m) |
精度等级 |
允许被测液体状态 |
|||
|
水20℃ |
空 气 |
LZB/LZJ |
LZB-()F |
温度(℃) |
压力 |
|||
|
2 |
LZB-2 |
0.4~4ml/min |
6~60ml/min |
160 |
1.5:2.5 |
2.5:4 |
-20~+120 |
≤0.4 |
|
3 |
LZB-3 |
2.5~25ml/min |
40~400ml/min |
|||||
|
4 |
LZB-4 |
(1~10)L/h |
(16~160)L/h |
|||||
|
6 |
LZB-6 |
(2.5~25)L/h |
(40~400)L/h |
|||||
|
10 |
LZB-10 |
(6~60)L/h |
(100~1000)L/h |
2.5 |
≤0.6 |
|||
|
15 |
LZB-15 |
(16~160)L/h |
(0.25~2.5)m?/h |
350 |
||||
|
25 |
LZB-25 |
(40~400)L/h |
(1~10)m?/h |
|||||
|
40 |
LZB-40 |
(160~1600)L/h |
(4~40)m?/h |
430 |
||||
|
50 |
LZB-50 |
(0.4~4)m?/h |
(10~100)m?/h |
450 |
||||
|
80 |
LZB-80 |
(1~10)m?/h |
(50~250)m?/h |
500 |
≤0.4 |
|||
|
100 |
LZB-100 |
(5~25)m?/h |
(120~600)m?/h |
|||||
全不锈钢型
法兰、浮子、导杆、支承板及螺栓等均为不锈钢304(1Cr18Ni9Ti),型号为LZB-( )B。
接液材质如需选用316,则型号为LZB-( )Bo,需定做。
如需不锈钢内衬PTFE,则型号为LZB-( )BF(或BoF),需定做。
全四氟型
基座、浮子、针阀采用聚四氟乙烯(PTTFE)。支承板、螺丝等采用不锈钢
接触测量流体的零部件材质:

玻璃转子流量计主要用于化工、石油、轻工、医药、化肥、化纤、食品、染料、环保及科学研究等各个部门中,用来测量单相非脉动(液体或气体)流体的流量。防腐蚀型玻璃转子流量计主要用于有腐蚀性液体、气体介质流量的检测,例如强酸(氢氟酸除外)、强碱、氧化剂、强氧化性酸、有机溶剂和其它具有腐蚀性气体或液体介质的流量检测。
玻璃转子流量计的选用:
1. 测量的对象。即测量介质种类、压力大小、化学性质。如液体介质、气体介质,对具腐蚀性的介质则应选择耐腐流量计。
2. 流量计本身性能。上述条件确定后一般讲,若价格没有大的变化,可优先选用针阀置于流量计上部的;有较大流通孔的,是直接流量刻度的;结构简单的;外部尺寸较小的等等。如是小流量范围,则可选用球浮子式,因它测量时稳定、不易积尘、精度较高、互换性好。











