热电偶

应用
通常和显示仪表、记录仪表、电子计算机等配套使用。直接测量各种过程中0~1300℃范围内的液体、蒸汽和气体介质以及固体表面温度。
特点
●装配简单,更换方便;
●压簧式感温元件,抗振性能好;
●测量范围大;
●机械强度高,耐压性能好;
●热响应时间快;
●使用寿命长;
工作原理
热电偶的电极由两根不同导体材质组成。当测量端与参比端存在温差时,就会产生热电势,工作仪表便显示出热电势所对应的温度值。
主要技术参数
○产品执行标准
IEC584
IEC1515
GB/T16839-1997
JB/T5582-91
○常温绝缘电阻
热电偶在环境温度为20±15℃,相对湿度不大于80%,试验电压为500±50V(直流)电极与外套管之间的绝缘电阻≥100MΩ.m。
热电偶冷端补偿计算方法:
从毫伏到温度:测量冷端温度,换算为对应毫伏值,与热电偶的毫伏值相加,换算出温度;
从温度到毫伏:测量出实际温度与冷端温度,分别换算为毫伏值,相减後得出毫伏值,即得温度
热电偶的结构形式为了保证热电偶可靠、稳定地工作,对它的结构要求如下:
1、组成热电偶的两个热电极的焊接须牢固;
2、两个热电极彼此之间应很好地绝缘,以防短路;
3、补偿导线与热电偶自由端的连接要方便可靠;
4、保护套管应能保证热电极与有害介质充分隔离。
○测量范围及允差
| 型号 | 分度号 | 允许误差与偶材等级 | |||
| I级 | II级 | ||||
| 允差值 | 测温范围℃ | 允差值 | 测温范围℃ | ||
| WRN | K |
±1.5℃ ±0.004│t│ |
-40~+375 375~1000 |
±2.5℃ ±0.0075│t│ |
-40~+333 333~1200 |
| WRM | N |
±1.5℃ ±0.004│t│ |
-40~+375 375~1000 |
±2.5℃ ±0.0075│t│ |
-40~+333 333~1200 |
| WRE | E |
±1.5℃ ±0.004│t│ |
-40~+375 375~800 |
±1.5℃ ±0.004│t│ |
-40~+333 333~900 |
| WRF | J |
±1.5℃ ±0.004│t│ |
-40~+375 375~750 |
±1.5℃ ±0.004│t│ |
-40~+333 333~750 |
| WRC | T |
±1.5℃ ±0.004│t│ |
-40-~+125 125~350 |
±1℃ ±0.0075│t│ |
-40~+333 133~350 |
| WRP | S |
±1℃ ±[1+0.003(t-1100)] |
0~+1100 1100~1600 |
±2.5℃ ±0.0025│t│ |
0~600 600~1600 |
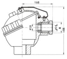
○接线盒形式

防水式 防喷式
注意:电气出口M未特殊指明,一律视为M20×1.5。
型号命名方法
| W | 温度仪表 | |||||||||
|
| | | | | | | | | | | | | | | | | | | | | | | | | | | | | | | | | | | | | | | | | | | | | | |
R | 热电偶 | ||||||||
|
| | | | | | | | | | | | | | | | | | | | | | | | | | | | | | | | | | | | | | | | | | | | | |
感温元件材料 分度号 | |||||||||
|
M N E F C P Q R |
镍铬硅-镍硅 N 镍铬-镍硅 K 镍铬-铜镍 E 铁-铜镍 J 铜-铜镍 T 铂铑10-铂 S 铂铑13-铂 R 铂铑30-铂6 B |
|||||||||
|
| | | | | | | | | | | | | | | | | | | | | | | | | | | | | | | | | | |
偶丝对数 | |||||||||
|
无 2 |
单支 双支 |
|||||||||
|
| | | | | | | | | | | | | | | | | | | | | | | | | | | | | | | |
安装固定形式 | |||||||||
|
1 2 3 4 5 6 |
无固定装置 固定螺纹 活动法兰 固定法兰 活络管接头式 锥形固定螺纹式 |
|||||||||
|
| | | | | | | | | | | | | | | | | |
接线盒形式 | |||||||||
|
2 3 |
防喷式 防水式 |
|||||||||
|
| | | | | | | | | | | | | | | | | |
保护管直径 | |||||||||
|
0 1 2 3 |
Φ16 Φ20 Φ16高铝质管 Φ20高铝质管 |
|||||||||
|
| | | | | | | | | | |
工作端形式 | |||||||||
| G | 变截面 | |||||||||
|
| | | | | | | | |
||||||||||
| W | R | N | 2 | —— | 2 | 3 | 1 | G | 典型型号示例 | |
1)型号
2)分度号
3)精度等级
4)安装固定形式
5)保护管材质
6)长度或插入深度

例A:热电偶,K型,Ⅰ级,固定螺纹 M27×2,保护管316L,长度450mm,插入深度300mm。WRN-220,K偶,L×I=450×300,Ⅰ级,保护管316L,螺纹M27×2。
热电偶(适用于铠装和隔爆热电偶
| 序号 | 形式 | 保护管材质 | 公称压力 | 热响应时间 | 备注 |
| 1 | 无固定 |
高铝质 (仅适用于N或K分度号) 1Cr18Ni9Ti 0Cr25Ni20 (适用于所有选型上热电偶) |
常压 |
<24S (适用于工作温度截面式) <90S (除了变截面式) |
保 护管直径为 Φ16、Φ20 Φ16高铝质管 Φ20高铝质管具体要求双方协商而定 |
| 2 | 固定螺纹 | ≤10MPa | |||
| 3 | 活动法兰 | 常压 | |||
| 4 | 固定法兰 | ≤2.5MPa | |||
| 5 | 活络管接头式 | 常压 | |||
| 6 | 锥形固定螺纹式 | ≤30MPa | |||
| 7 | 直形管接头式 | 常压 | |||
| 8 | 固定螺纹管接头式 | ||||
| 9 | 活动螺纹管接头式 |
| 固定装置类型 | 插入深度L (mm) | 附注 | |||||||||||||||||||||||||||||||||||||||||||||||||||||||||||||||||||||||||||||||||||||||||
| 150 | 200 | 250 | 300 | 350 | 500 | 1000 | 1500 | 2000 | |||||||||||||||||||||||||||||||||||||||||||||||||||||||||||||||||||||||||||||||||||
| 无固定 |
|
保护管总长 L=l+150插入 深度及其保 护管材质可 按协议定货 |
|||||||||||||||||||||||||||||||||||||||||||||||||||||||||||||||||||||||||||||||||||||||||
| 固定螺纹 | |||||||||||||||||||||||||||||||||||||||||||||||||||||||||||||||||||||||||||||||||||||||||||
| 活动法兰 | |||||||||||||||||||||||||||||||||||||||||||||||||||||||||||||||||||||||||||||||||||||||||||
| 固定法兰 | |||||||||||||||||||||||||||||||||||||||||||||||||||||||||||||||||||||||||||||||||||||||||||
| 活络管接头式 | |||||||||||||||||||||||||||||||||||||||||||||||||||||||||||||||||||||||||||||||||||||||||||
| 锥形固定螺纹式 | |||||||||||||||||||||||||||||||||||||||||||||||||||||||||||||||||||||||||||||||||||||||||||
| 直形管接头式 | |||||||||||||||||||||||||||||||||||||||||||||||||||||||||||||||||||||||||||||||||||||||||||
| 固定螺纹管接头式 | |||||||||||||||||||||||||||||||||||||||||||||||||||||||||||||||||||||||||||||||||||||||||||
| 活动螺纹管接头式 | |||||||||||||||||||||||||||||||||||||||||||||||||||||||||||||||||||||||||||||||||||||||||||
| 材质 | 使用温度 | 特点及用途 |
| 1Cr185Ni9Ti | -200~800 | 具有高温耐蚀性,通常作为一般热钢使用 |
| 304 | -200~800 | 低碳含量,具有良好耐晶间腐蚀性,通常作为一般耐热钢使用 |
| 316 | -200~750 | 低碳含量,具有良好耐晶间腐蚀性,作为耐腐蚀钢使用 |
| 316L | -200~750 | 超低碳含量,具有良好耐晶间腐蚀性,作为耐腐蚀钢使用 |
| 310S | -200~1000 | 具有高温抗氧化性,耐腐蚀型通常作为热钢使用 |
| GH3030 | 0~1100 | 镍基高温合金钢,具有优良抗氧化性,耐腐蚀型,通常作为耐热钢使用 |






