一、产品概述
重锤式料位计用于监测料斗、筒仓、储罐等容器内粉末、颗粒和液体高度或近似重量的实时测量。它通过直接测量顶部无料空间距离,间接达到测量料层内物料高度的目的,并且可以根据不同的工况选择配置各种法兰、重锤及操作界面或远程通讯等,实现了人性化、科学化、合理化的设计宗旨。其中QHYC-Ⅰ系列用于冶金行业的料位测量,QHLC-Ⅰ系列用于粮油加工业的料位测量。
二、工作原理
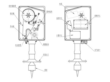
重锤式料位计的主要部件有:重锤、安装法兰、测量机构、吹灰装置、导向轮、钢丝绳、钢丝绳卷筒、摆杆机构、控制单元、电机、测控单元、计量单元和电气接口。

传感器接到探测命令时,电机正转,经减速机构后带动绕线筒转动,钢缆下放,重锤跟随其下降,当重锤降至料面时被料面托起而失重,钢丝绳松驰,灵敏杠杆动作使霍尔元件动作,并将位置信号传递给控制器,控制器获得该信号后立即发出电机反转命令,重锤随钢丝绳上升返回,直到重锤回到仓顶原始位置,电机停转,完成一次探测过程。 并以4—20mA电流信号、标准的MODBUS串行通讯方式、干接点三种方式传输给DCS系统或外置显示单元料位及报警信号。
三、技术参数
◆ 供电电压: 220 V±10%AC, 50 Hz
◆ 功率消耗: 15VA 连续, 40 VA 间歇
◆ 环境温度: -40° F to 150° F (-40° C to 65° C)
◆ 介质温度: 小于130°C
◆ 测量范围: 46.9 m
◆ 测量速度: 0.26 m/s
◆ 精 度: <测量距离的0.25%
◆ 重 复 性: 20 mm
◆ 分 辨 率: 3.5mm
◆ 钢 缆: 1.0mm (123kg 张力)
◆ 重锤重量:0.89Kg
四、接线方式
重锤式料位计用于监测料斗、筒仓、储罐等容器内粉末、颗粒和液体高度或近似重量的实时测量。它通过直接测量顶部无料空间距离,间接达到测量料层内物料高度的目的,并且可以根据不同的工况选择配置各种法兰、重锤及操作界面或远程通讯等,实现了人性化、科学化、合理化的设计宗旨。其中QHYC-Ⅰ系列用于冶金行业的料位测量,QHLC-Ⅰ系列用于粮油加工业的料位测量。
二、工作原理
重锤式料位计的主要部件有:重锤、安装法兰、测量机构、吹灰装置、导向轮、钢丝绳、钢丝绳卷筒、摆杆机构、控制单元、电机、测控单元、计量单元和电气接口。

传感器接到探测命令时,电机正转,经减速机构后带动绕线筒转动,钢缆下放,重锤跟随其下降,当重锤降至料面时被料面托起而失重,钢丝绳松驰,灵敏杠杆动作使霍尔元件动作,并将位置信号传递给控制器,控制器获得该信号后立即发出电机反转命令,重锤随钢丝绳上升返回,直到重锤回到仓顶原始位置,电机停转,完成一次探测过程。 并以4—20mA电流信号、标准的MODBUS串行通讯方式、干接点三种方式传输给DCS系统或外置显示单元料位及报警信号。
三、技术参数
◆ 供电电压: 220 V±10%AC, 50 Hz
◆ 功率消耗: 15VA 连续, 40 VA 间歇
◆ 环境温度: -40° F to 150° F (-40° C to 65° C)
◆ 介质温度: 小于130°C
◆ 测量范围: 46.9 m
◆ 测量速度: 0.26 m/s
◆ 精 度: <测量距离的0.25%
◆ 重 复 性: 20 mm
◆ 分 辨 率: 3.5mm
◆ 钢 缆: 1.0mm (123kg 张力)
◆ 重锤重量:0.89Kg
四、接线方式

五、外形尺寸与安装方法
1、重锤料位计应当安装在偏离物料装料入口的位置。料位计安装位置应距装料入口至少1.2米远。距离容器侧壁也应尽可能远,至少为1米。
2、重锤料位计可安装在大多数容器的顶部。料位计须安装在法兰上并确保铅锤自然垂直,从而让测锤/钢缆装置直接下坠。容器顶部若非水平须先焊上一节钢管,使法兰能成水平安装。上下法兰间需加垫片确保两法兰间的密封性良好。
六、应用案例
1、白灰窑窑顶料位测量
2、面粉厂散粉仓料位测量
2、重锤料位计可安装在大多数容器的顶部。料位计须安装在法兰上并确保铅锤自然垂直,从而让测锤/钢缆装置直接下坠。容器顶部若非水平须先焊上一节钢管,使法兰能成水平安装。上下法兰间需加垫片确保两法兰间的密封性良好。
六、应用案例
1、白灰窑窑顶料位测量
2、面粉厂散粉仓料位测量






